新闻动态

  • 哪些仪表需要做温压补偿?

    温压补偿是指仪表测量数据在温度25℃、压力一个标准大气压的标准条件下,通过测量现场温度与压力,利用计算公式对测量结果进行自动补偿的技术。其核心意义在于将非标准工况下的测量结果转换为标准工况下的对应值,保证不同测量点的结果处于同一尺度,便于比较和统计。

    2025-10-28 (中国)官方网站

  • 流量计测量仪表原理与故障处理

    流量是天然气生产过程中一个重要的参数。流量就是在单位时间内流体通过一定截面积的量。 流量分为瞬时流量和累计流量。瞬时流量是指单位时间内流过管道某一截面流体的数量,简称流量。累积流量是指在某一段时间内流过管道的流体数量总和,即瞬时流量在某一段时间内的累积值,又称为总量。

    2025-09-25 (中国)官方网站

  • 涡街流量计和涡轮流量计的区别

    涡轮流量计和涡街流量计虽然只有一字之差,但是结构、原理却截然不同。选择涡街流量计和涡轮流量计时,需要考虑多个因素,包括应用场景、介质类型、精度要求、成本以及安装和维护的便利性。

    2025-01-17 (中国)官方网站

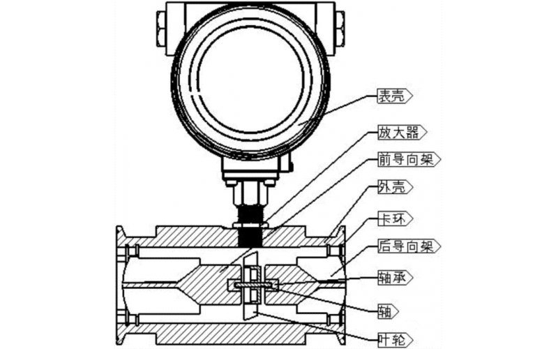
  • 涡轮流量计显示流量为零

    涡轮流量计简介: 涡轮流量计一般由传感器和显示仪两部分组成,也可做成整体式。 涡轮流量计和容积式流量计、科里奥利质量流量计称为流量计中三类重复性、精度最佳的产品,作为十大类型流量计之一,其产品已发展为多品种、多系列批量生产的规模。

    2024-08-14 (中国)官方网站

  • 金属转子流量计知识点及要素

    金属转子流量计知识点及要素

    2024-04-07 (中国)官方网站

  • 仪表常用设备点检及维护技能知识

    仪表常用设备点检及维护技能知识

    2024-04-07 (中国)官方网站

  • 天然气流量仪表的检定趋势

    天然气流量仪表的检定趋势

    2023-10-09 (中国)官方网站

  • 流量计与管道连接的几种方式

    流量计与管道连接的几种方式

    2023-08-10 (中国)官方网站

上一页12下一页 转至第
首页
产品
新闻
联系