注油器工作原理知识分享
2022-06-20 22:55:34
(中国)官方网站设备
注油器工作原理知识分享
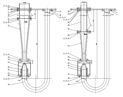
1、注油器
注油器又称射油器,是由喷嘴,扩压管,进油管组成,主要供给主油泵入口油以及汽轮机轴承润滑油的作用。
2、工作原理
注油器喷嘴进口和提供动力油的主油泵出口相连,高压油以很高的速度离开喷嘴进入扩压管,在喷嘴处形成负压,油箱中油在负压作用下,通过滤网进入注油器的混合室中,因为油的黏性,与喷射出来的引射油一起进入扩压管,在扩压管中油的动能转换成力能。注油器如此利用少量的润滑油作为动力,吸入大量的以一定的压力供润滑系统和主油泵用油。
